Моноблоки Apple могут обзавестись проекционной клавиатурой- Новости ИТ - Сервис
 
Главная страница


комплексные ИТ-решения

ВАШИ ИДЕИ
СТАНУТ РЕАЛЬНОСТЬЮ!

  
   


Самый полный
спектр ИТ-услуг
  Решения в области
Информационных технологий
 
 
 

 

 Главная  /  Новости  /  новости IT-рынка  /  Моноблоки Apple могут обзавестись проекционной клавиатурой

Новости

Моноблоки Apple могут обзавестись проекционной клавиатурой
08.10.2015, 19:07:22 
 
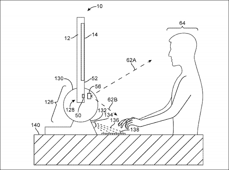
p>Управление США по патентам и торговым маркам (USPTO) опубликовало патент №9,154,677 под названием «Camera accessory for angled camera viewing», который компания Apple получила 6 октября 2015 года.

В документе, в числе прочего, описывается проекционная клавиатура для персональных компьютеров. По задумке Apple, специальный проекционный модуль может быть интегрирован, скажем, в базу моноблочного компьютера iMac для отображения виртуальных кнопок непосредственно на поверхности стола.

Обозначения на кнопках проекционной клавиатуры могут меняться в зависимости от запущенного приложения. Кроме того, размер и положение такого виртуального средства ввода данных могут быть автоматически оптимизированы на основании информации от камеры, смотрящей на пользователя.

Любопытно, что запатентованная система, по задумке Apple, при некоторых модификациях подойдёт для применения в мобильных гаджетах (смартфонах, фаблетах и планшетах), ноутбуках, носимых устройствах, информационных киосках и даже автомобильных бортовых центрах.

Впрочем, пока Apple лишь закрепила за собой права на данную разработку, о планах по её выводу на коммерческий рынок ничего не сообщается. 

Источник:


Источник: 3DNews

 
 
Новости:    Предыдущая Следующая   
 Архив новостей

Разделы новостей:

Подписаться на новости:

 

Поиск в новостях: